共谋薯业发展 河北围场举办马铃薯种业大会
本次大会由中国种子协会马铃薯分会、河北省种子协会、围场满族蒙古族自治县人民政府主办。大会深入研讨全国马铃薯种薯产业发展方向,构......
本次大会由中国种子协会马铃薯分会、河北省种子协会、围场满族蒙古族自治县人民政府主办。大会深入研讨全国马铃薯种薯产业发展方向,构......
TMGM荣誉宣布:我集团已与切尔西足球俱乐部续约,达成多年期合作关......
主力资金尾盘持续净流入电子、传媒、汽车、非银金融、电力设备、银行等板块,净流出国防军工、美容护理等板块。...
【编者按】8月14日,腾讯发布2024年第二季度财报。财报显示,腾讯视频付费会员数同比增长13%至1.17亿。《庆余年 第二季》及《与凤行》分别位列2024年... 8月14日,腾讯发布2024年第二季度财报。财报显示,腾讯视频付费会员数同比增长13%至1.17亿。《庆余年 第二季》及《与凤行》分别位列2024年上半年中国网络视频平台播放量第一、第二,在剧集市场激烈的竞争中收割现象级流量。腾讯董事会主席兼首席执行官马化腾表示,通过改编自阅文IP的自制电视剧,腾讯视频实现了观众和付费会员数的显著增长。财务指...
【编者按】近日,中国银联低碳计划与武汉碳普惠武碳江湖个人低碳生活平台实现互通。武汉地区的用户可通过云闪付APP低碳计划小程序进入武汉碳普惠,完... 近日,中国银联“低碳计划”与武汉碳普惠“武碳江湖”个人低碳生活平台实现互通。武汉地区的用户可通过云闪付APP“低碳计划”小程序进入“武汉碳普惠”,完成低碳生活场景授权开通后,即可使用云闪付APP、银联手机闪付等支付方式乘坐武汉公交、地铁,积累相应的武汉碳普惠减排量。 用户可使用累积的碳减排量兑换公共交通出行券、影音会员等实用、好用的权益。未来,这些碳减排量还...
天眼查app显示,近日,天津应楚电力科技合伙企业(有限合伙)成立,执行事务合伙人为华能湖北能源销售有限责任公司,出资额约22.5亿人民币,经营范围为发电技术......
据媒体报道,今日,“十个勤天”现身种地星球直播,浙江站游学即将开启,少年们回到后陡门一起整装待发。天眼查知识产权信息显示,近日,《种地吧》出品方蓝天下(浙江)传媒集团有限 ......
腾创生物是一家宠物创新药物研发商,以国际标准开发宠物创新药及高端复杂制剂,以宠物创新药为核心填补国内市场空白,产品包含专利化合物、专门适用于宠物的505b2制剂以及新的宠物诊断试剂等。近日, ......
Chartis是一家医疗咨询及技术服务提供商,致力于为学术医疗中心、综合交付网络平台、儿童医院和医疗保健服务组织提供各类咨询和技术服务,并为医疗保健组织提供人工智能、机器学习、大数据分析等技 ......
Fresh Bus是一家电动巴士服务商,主要从事交通运营业务,为巴士旅客提供舒适、安全和可持续的旅行体验,已服务超40万乘客,准点率达95%。近日,Fresh Bus获得1050万美元A轮融 ......
逸动科技是一家专注电动船外机产品的设计和研发的公司,致力于在电动船外机的应用已成为船外机行业发展的必然趋势下为中小型船艇提供动力。公司的主要业务包括电机、电机驱动和螺旋桨等核心部件的自主研发 ......
天眼查法律诉讼信息显示,近日,恒大集团有限公司新增股权冻结信息,股权被执行的企业为恒大金融控股集团(深圳)有限公司,冻结股权数额为130亿元,执行法院为河北省沧州市中级人民法院。...
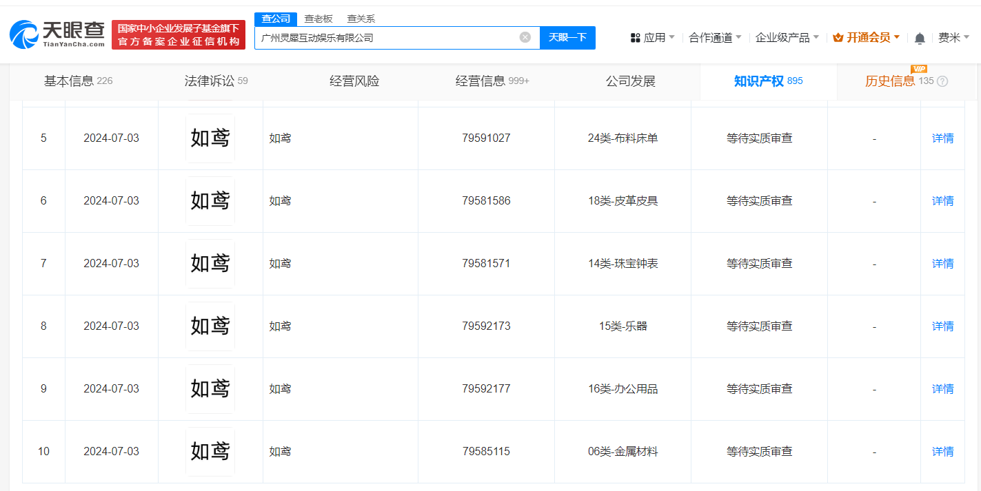
天眼查知识产权信息显示,近日,广州灵犀互动娱乐有限公司申请多枚“如鸢”商标,国际分类包括厨房洁具、饲料种籽、服装鞋帽等,当前商标状态均为等待实质审查。据媒体报道,近日,沉 ......
8月13日,运动科技公司 Keep在北京总部举办 Keep Watch Pilot1智能运动手表媒体交流会,就8月10日全新发布的智能穿戴设备--- Keep Wa......
中东紧张局势持续升温,黄金再创历史新高可能只是时间问题。黄金现货隔夜劲升1.7%至2472美元,黄金期货价格突破2500美元,两者均创下收盘价......
观赛抢同款,商家紧抓流量密码。7月27日,巴黎奥运会射击混合团体10米气步枪比赛中,中国组合黄雨婷、盛李豪夺金。在为冠军组合高兴之......