灵犀互娱申请如鸢商标 游戏出品方申请如鸢商标
网络 阅读: 2024-08-15 15:17:45
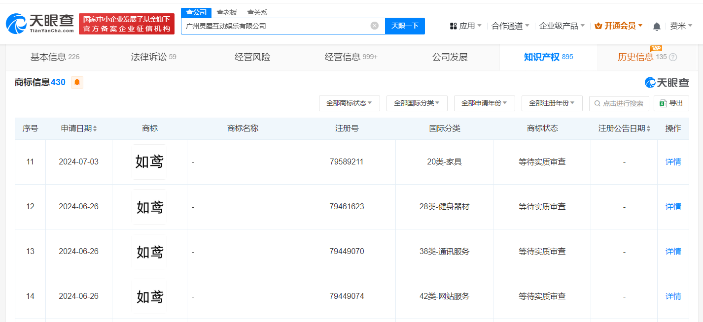
天眼查知识产权信息显示,近日,广州灵犀互动娱乐有限公司申请多枚“如鸢”商标,国际分类包括厨房洁具、饲料种籽、服装鞋帽等,当前商标状态均为等待实质审查。
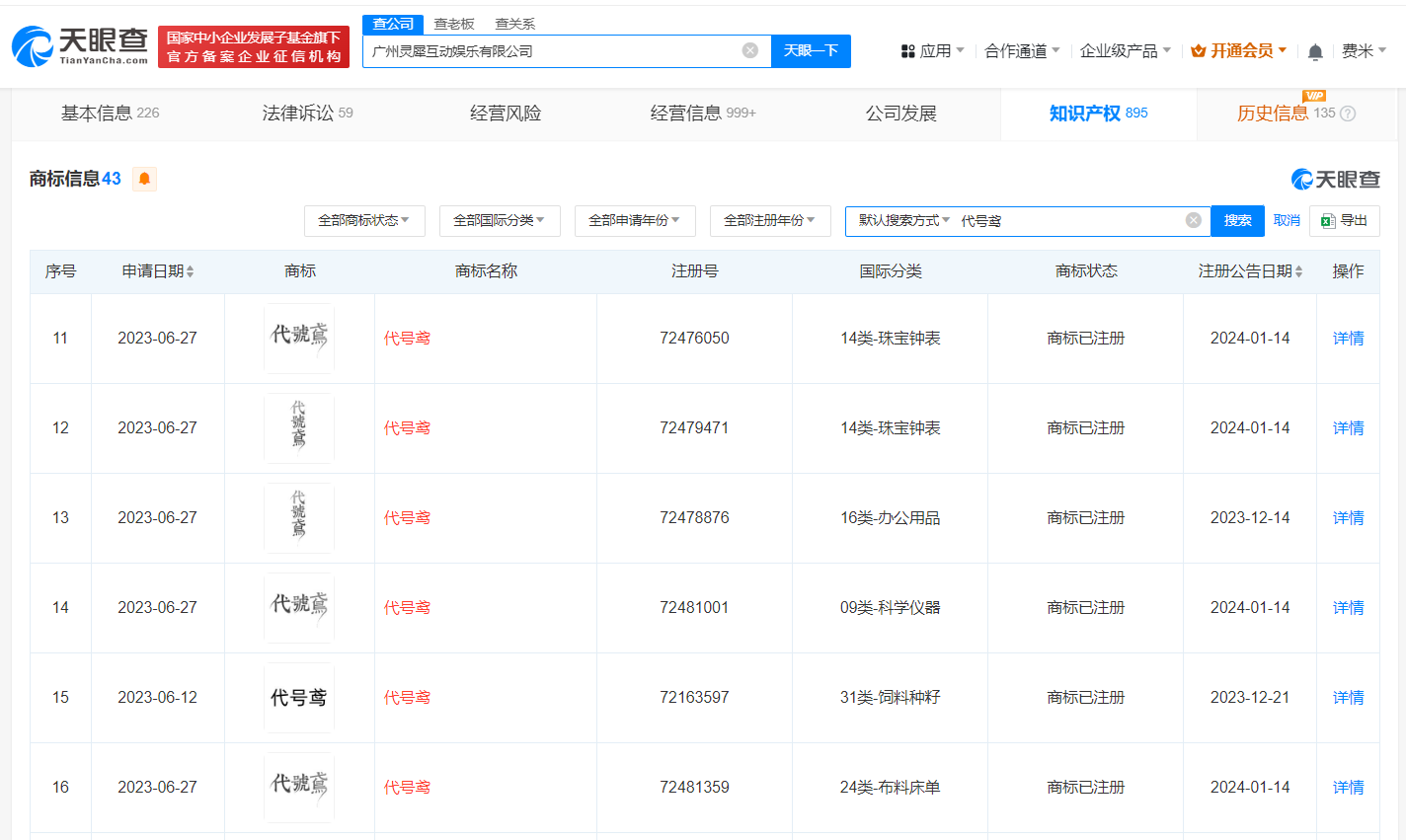
据媒体报道,近日,沉浸式剧情卡牌手游《如鸢》官宣开放预约。开启预约仅8小时,预约人数就突破了340万。据悉,该游戏在国外名为《代号鸢》,在国内过审后改名《如鸢》。天眼查显示,广州灵犀互动娱乐有限公司已于去年成功注册多枚“代号鸢”商标。




本文转载自天眼查,转载目的在于传递更多信息,并不代表本站赞同其观点和对其真实性负责。如涉及作品内容、版权和其它问题,请联系天眼查通知我方删除,我方将在收到通知后第一时间删除内容!本文只提供参考并不构成任何投资及应用建议。本站拥有对此声明的最终解释权。
本文 原创,转载保留链接!网址:https://licai.bangqike.com/cjnews/697718.html
声明
1.本站遵循行业规范,任何转载的稿件都会明确标注作者和来源;2.本站的原创文章,请转载时务必注明文章作者和来源,不尊重原创的行为我们将追究责任;3.作者投稿可能会经我们编辑修改或补充。


