观致汽车及其股东等被强执6.6亿 观致汽车等被强制执行6.6亿
网络 阅读: 2024-09-03 10:17:57
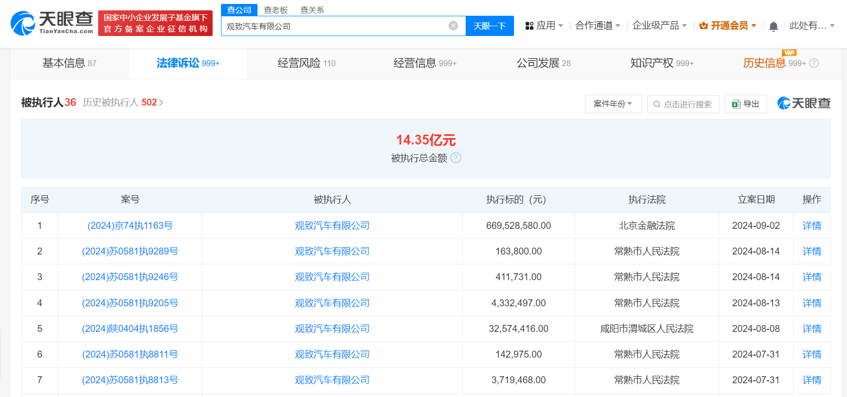
天眼查法律诉讼信息显示,近日,观致汽车有限公司、深圳市宝能投资集团有限公司、芜湖奇瑞汽车投资有限公司、杭州诚茂投资有限公司等新增一条被执行人信息,执行标的6.69亿余元,执行法院为北京金融法院。
观致汽车有限公司成立于2007年12月,法定代表人为何华,注册资本约169.25亿人民币,由杭州诚茂投资有限公司、芜湖奇瑞汽车投资有限公司、QUANTUM(2007)LLC共同持股。天眼风险信息显示,该公司现存36条被执行人信息,被执行总金额超14亿元。此外,该公司还存在多条限制消费令、失信被执行人(老赖)及终本案件信息。


本文转载自天眼查,转载目的在于传递更多信息,并不代表本站赞同其观点和对其真实性负责。如涉及作品内容、版权和其它问题,请联系天眼查通知我方删除,我方将在收到通知后第一时间删除内容!本文只提供参考并不构成任何投资及应用建议。本站拥有对此声明的最终解释权。
本文 原创,转载保留链接!网址:https://licai.bangqike.com/cjnews/745269.html
声明
1.本站遵循行业规范,任何转载的稿件都会明确标注作者和来源;2.本站的原创文章,请转载时务必注明文章作者和来源,不尊重原创的行为我们将追究责任;3.作者投稿可能会经我们编辑修改或补充。


