绿地控股集团被恢复执行4.8亿
网络 阅读: 2024-08-08 11:18:15
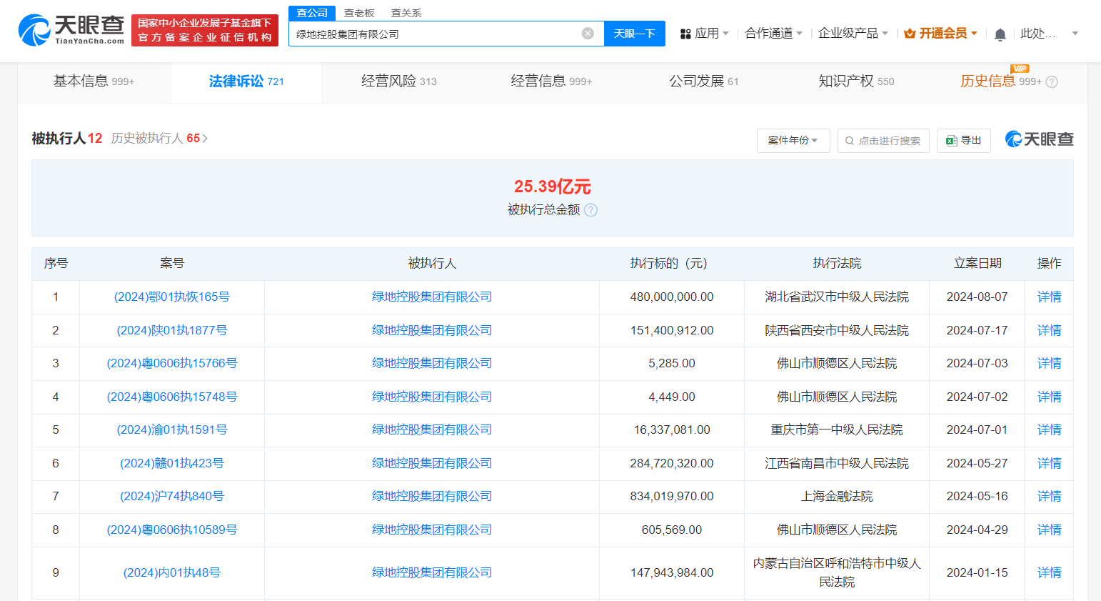
天眼查法律诉讼信息显示,近日,绿地控股集团有限公司及旗下武汉绿地滨江置业有限公司新增一条恢复执行信息,执行标的4.8亿元,执行法院为湖北省武汉市中级人民法院。
绿地控股集团有限公司成立于1992年7月,法定代表人为张玉良,注册资本约226.5亿人民币,由绿地控股(600606)、绿地金创科技集团有限公司共同持股。风险信息显示,该公司现存12条被执行人信息,被执行总金额超25亿元,此外还存在多条股权冻结信息。



本文转载自天眼查,转载目的在于传递更多信息,并不代表本站赞同其观点和对其真实性负责。如涉及作品内容、版权和其它问题,请联系天眼查通知我方删除,我方将在收到通知后第一时间删除内容!本文只提供参考并不构成任何投资及应用建议。本站拥有对此声明的最终解释权。
本文 原创,转载保留链接!网址:https://licai.bangqike.com/cjnews/685237.html
声明
1.本站遵循行业规范,任何转载的稿件都会明确标注作者和来源;2.本站的原创文章,请转载时务必注明文章作者和来源,不尊重原创的行为我们将追究责任;3.作者投稿可能会经我们编辑修改或补充。


